移动支付网12月26日消息,根据上海联合产权交易所最新预披露的产权转让信息,支付机构东方付通支付科技有限公司(简称“东方付通”)100%股权有意转让,但价格尚未披露。

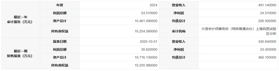
信息还披露了东方付通的主要财务指标。2024年,东方付通营业收入约为491万元,净利润约24.5万元;在今年前三个季度,东方付通营业收入约为345.8万元,净利润约23.5万元。

据移动支付网了解,东方付通是中国宝武钢铁旗下第三方支付机构,是一家国有控股公司,于2011年3月正式成立,同年获得人民银行颁发的《支付业务许可证》,获准开展互联网支付业务。东方付通主要为钢铁及相关行业的企业电子商务,提供综合电子支付服务。支付业务分类调整后,东方付通的业务类型也被调整为“储值账户运营Ⅰ类”。

从控股关系来看,东方付通股东公司为上海欧冶供应链有限公司,后者为中国宝武钢铁产业金融服务平台——欧冶金服的成员企业。欧冶金服主要负责承建中国宝武金融服务平台,为生态圈参与方提供供应链金融解决方案,打造集金融科技研发、生态圈金融服务、金融数据与风险信息集成为一体的金融服务平台。欧冶金服主要聚焦钢铁生态圈,为产业链企业提供融资、资产、投资等服务,以及部分特色服务,支付结算服务算是其中的特色服务之一。
东方付通作为中国宝武钢铁旗下支付机构,主要为企业及个人用户提供担保支付、代扣款、通道支付等丰富的在线支付服务。比如基于在大宗商品行业的服务经验,东方付通结合行业应用及B2B贸易特点,进一步开发了保证金交易、预约支付等特色支付产品。目前,东方付通已打通了全国700多家银行的支付渠道,业务范围覆盖钢铁、化工、能源、循环物资、物流等行业。
据移动支付网不完全统计,近些年来在公开渠道挂牌、拍卖转让股权的支付机构并不少。一方面,行业交易规模增长见顶,增量空间减少,市场资源加速向头部机构集中。这对于许多中小型支付机构而言,在缺乏独特场景和竞争优势的情况下,生存变得愈发艰难;另一方面,对于国有企业,为了响应“提质增效”、清理和处置低效资产等要求,也会选择退出与主业关联度不高的支付业务。比如根据天津产权交易中心此前披露的项目信息,天津泰达集团也有意将其持有的天津城市一卡通有限公司股权进行转让。
展开全文
- 移动支付网 | 2025/5/27 15:27:02
- 移动支付网 | 2024/9/9 17:13:15
- 移动支付网 | 2023/10/26 17:34:28
- 移动支付网 | 2022/3/2 9:47:43
- 移动支付网 | 2019/9/2 8:53:47
- 移动支付网 | 2019/8/30 9:17:09
- 移动支付网 | 2025/7/24 9:15:37
- 移动支付网 | 2024/7/30 17:47:18
- 移动支付网 | 2023/12/11 16:32:23
- 移动支付网 | 2023/11/16 14:30:14
- 移动支付网 | 2023/8/14 18:17:16
- 移动支付网 | 2023/8/14 9:40:27
- 移动支付网 | 2023/7/28 16:41:19
- 移动支付网 | 2023/6/8 17:47:01
- 移动支付网 | 2023/5/12 10:59:13















