执行标的近2.5亿!联行支付成被执行人
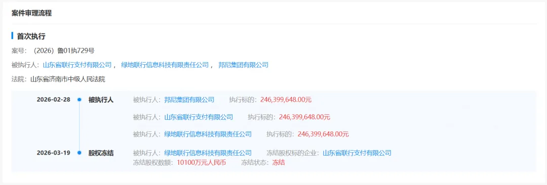
移动支付网据企查查信息,支付机构山东省联行支付有限公司(简称“联行支付”)近期被山东省济南市中级人民法院列为被执行人,执行标的接近2.5亿元。同时被列为被执行人的,还有联行支付的关联公司绿地联行信息科技有限责任公司、邦尼集团有限公司,三家企业之间存在股权关联。


此外,因上述债务纠纷,联行支付股权已被司法冻结。按照《非银行支付机构重大事项报告管理办法》相关规定,支付机构及其主要出资人、实际控制人出现涉案金额超过净资产10%的重大诉讼、仲裁纠纷,或超过净资产10%的重要资产被查封、冻结等情况,属于事后报告二类事项,需向人民银行报告。

据移动支付网了解,联行支付成立于2005年,前身为“山东省电子商务综合运营管理有限公司”,于2024年11月完成更名。早在2012年6月,联行支付就获得互联网支付(储值账户运营Ⅰ类)牌照,是山东省内较早拥有全国性支付资质的机构之一。

值得注意的是,2019年前后,随着山东省电子商务协会等原股东退出,地产巨头绿地集团通过多层级关联公司实现对联行支付的控股,联行支付也因此被视为“绿地系”支付机构。种种信息显示,联行支付正是因与绿地系公司存在债务关联,被法院一并列为被执行人并需承担连带清偿责任。简单来说,在现金流紧张、融资渠道收窄、资产处置受阻的背景下,绿地集团关联公司无力为下属子公司兜底,导致债务风险沿股权链条向下传导,处于下层的支付机构成为直接承压方。
事实上,就在联行支付、绿地联行信息科技有限责任公司、邦尼集团有限公司等被执行前后,绿地集团相关财务数据已被披露。截至2026年3月,绿地及子公司逾期债务已超200亿元,近期单月新增司法诉讼超过1000件,涉案金额达数十亿元。
展开全文
展开全文
相关阅读
- 移动支付网 | 2026/3/5 9:00:54
- 移动支付网 | 2019/11/18 19:53:10
- 移动支付网 | 2017/6/14 11:32:37
- 移动支付网 | 2026/3/24 8:56:00
- 移动支付网 | 2026/3/19 8:55:13
- 移动支付网 | 2026/3/18 8:49:24
- 移动支付网 | 2026/3/13 8:51:06
- 移动支付网 | 2026/3/11 8:59:46
- 移动支付网 | 2026/3/6 8:53:33
- 移动支付网 | 2026/2/9 9:03:15
- 移动支付网 | 2026/2/4 8:59:20
- 移动支付网 | 2026/2/3 14:21:23
- 移动支付网 | 2026/1/29 9:14:11
- 移动支付网 | 2026/1/28 8:50:40
- 移动支付网 | 2026/1/16 14:24:33










